We will present the performance, safe operation methods, and technical parameters of KYN28-12 medium-voltage switchgear

Use environmental conditions
◆رہmbient air temperature: Upper limit 40°C Lower limit -10°C in general areas:
◆رہltitude: 1000m;
◆Humidity:
نسل نطوبت: روزانہ روزانہ 95% سے زیادہ نہیں ہے اور مہینہ90% سے زیادہ نہیں ہے ۔
جراو پانی کی دباؤ: روزانہ صفرہ 2.2kpa سے زیادہ نہیں ہے اور ماہن و مینہ سال 1.8 کپا سے زیادہ نہیں ہے ۔
جہاں دماغ کی حرارت کے ساتھ دماغ ہوتی ہے ، اور یہ تصاویر کے دو ماحولی حالتوں کے لئے مناسب ہے جو اُس وقت سے زیادہ سخت ہے ۔:
ڈی (1). ڈھانپیٹ (مھونڈ) نپیٹ (ماہے میں دو مرتبہ)
2 عموماً عموماً عموماً عموماً نعموماً (سال میں دو مرتبہ سے زیادہ نہیں) ۔
◆ اِس کے ذریعے کوئی آگ ، ڈھانک ، اُس کے ذریعے ، ڈھانڈی اور دیگر سختی جگہوں کے لئے کافی ہے ۔
جرائیو گروہ کے ذریعے ، زخم اور ٹوپڑے رہنے والے نشہ لینے والے نہیں ہیں ۔
Note: (1) Storage and transportation are allowed at -30°C;
جب اتحادی (2) جب اتحادی1000 میٹر سے زیادہ ہے تو اسے "ہائی ٹوٹنگ بیلک کے استعمال کے لئے اتحادی علاقوں کے لئے تکنیکی ضروریات" کے مطابق چلنا چاہئے ۔ جب ارتفاع2000 میٹر سے زیادہ نہیں ہوتی تو نیچے دباؤ سے کمزوریوں کو کوئی اقدامات اقدامات ادا کرنے کی ضرورت نہیں ہے ۔
جراو (3) جب استعمال کے حقیقی حالات اعلی سے مختلف ہوتے ہیں تو اسے استعمال کرنے اور ٹوٹکٹ کے درمیان مفاوضی کی جانا چاہئے ۔
Model and meaning
K Y N 28 - 12/ □ - □
└─Rated Breaking Short Circuit Current (Kرہ)
└─Rated Current (رہ)
└─Rated voltage (KV).
└─Design serial number
└─Indoors
└─ Move the type
└─Metal armor
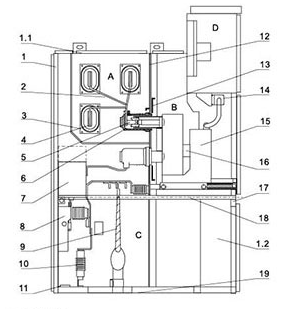
Schematic diagram of the structure of the switchgear
Figure 1

رہ. Circuit breaker compartment B. Busbar compartment
C. Cable room D. Relay instrument room
1. Busbar 2. Static contact disc 3. Circuit breaker
4. Grounding switch 5. Current transformer
6. Capacitive voltage divider 7. Lightning arrester
Fig.2 Schematic diagram of switchgear structure

1. Housing 2. Branch small busbar 3. Busbar sleeve 4. Main busbar
5. Static contact device 6. Static contact box 7. Current transformer
8. Grounding switch 9. Cable 10. Surge arrester 11. Grounding main bus
12. Loading and detachable partition 13. Partition (flap) 14. Secondary plug
15 سفریٹ بریکر رانڈی ، 16 ہٹر آب ڈیوٹل متعلقہ
18. Grounding switch operating mechanism 19. Base plate
رہ.جے ب ہ ٹوٹرکٹ بریکر رانڈی رہ جےے کابل کمر رئیسٹر
1.1. Pressure relief device 1.2. Control small trunking
Meet the standards
The product meets the following standards:
1.IEC-298
2.GB3906-1991
3.DLT404-19974. GB/T11022-1999
Primary wiring scheme
| Scheme number | 001 | 002 | 003 | 004 | 005 | |
Primary route diagram |
| |||||
| Rated current (رہ). | 630-4000 | |||||
One times host want electricity utensil Yuan item | Vacuum circuit breaker | 1 | 1 | 1 | 1 | 1 |
| Current transformer LZZBJ9-12 | 2 | 2 | 2 | 3 | 3 | |
| Voltage transformer RZL/REL | ||||||
| High Pressure Breaker (XRNP □) | ||||||
| Grounding Switch (EK6/JN15-12) | 1 | 1 | 1 | |||
| Surge arrester HY5WZ-17/45 | 3 | |||||
| use | Receiving power and feeding power | Receiving power and feeding power | Receiving power and feeding power | Receiving power and feeding power | Receiving power and feeding power | |
| Scheme number | 006 | 007 | 008 | 009 | 010 | |
Primary route diagram |
| |||||
| Rated current (رہ). | 630-4000 | |||||
One times host want electricity utensil Yuan item | Vacuum circuit breaker | 1 | 1 | 1 | 1 | 1 |
| Current transformer LZZBJ9-12 | 3 | 2 | 2 | 2 | 2 | |
| Voltage transformer RZL/REL | ||||||
| High Pressure Breaker (XRNP □) | ||||||
| Grounding Switch (EK6/JN15-12) | 1 | 1 | 1 | |||
| Surge arrester HY5WZ-17/45 | 3 | |||||
| use | Feed | Contact (right) | Contact (right) | Contact (left) | Contact (left) | |
| Scheme number | 011 | 012 | 013 | 014 | 015 | |
Primary route diagram |
| |||||
| Rated current (رہ). | 630-4000 | |||||
One times host want electricity utensil Yuan item | Vacuum circuit breaker | 1 | 1 | 1 | 1 | 1 |
| Current transformer LZZBJ9-12 | 3 | 3 | 2 | 2 | 2 | |
| Voltage transformer RZL/REL | ||||||
| High Pressure Breaker (XRNP □) | ||||||
| Grounding Switch (EK6/JN15-12) | 1 | 1 | 1 | |||
| Surge arrester HY5WZ-17/45 | 3 | |||||
| use | Overhead Line (Right Contact) | Overhead Line (Right Contact) | Overhead entry and exit lines | Overhead entry and exit lines | Overhead entry and exit lines | |
| Scheme number | 016 | 017 | 018 | 019 | 020 | |
Primary route diagram |
| |||||
| Rated current (رہ). | 630-4000 | |||||
One times host want electricity utensil Yuan item | Vacuum circuit breaker | |||||
| Current transformer LZZBJ9-12 | ||||||
| Voltage transformer RZL/REL | /3 | 2/ | /3 | 2/ | /2 | |
| High Pressure Breaker (XRNP □) | 3 | 3 | 3 | 3 | 3 | |
| Grounding Switch (EK6/JN15-12) | ||||||
| Surge arrester HY5WZ-17/45 | 3 | 3 | 3 | |||
| use | Voltage measurement surge arrester | Voltage measurement surge arrester | Voltage measurement surge arrester | Voltage Measurement (Left link) | Voltage Measurement (Right Link) | |
| Scheme number | 021 | 022 | 023 | 024 | 025 | |
Primary route diagram |
| |||||
| Rated current (رہ). | 630-4000 | |||||
One times host want electricity utensil Yuan item | Vacuum circuit breaker | |||||
| Current transformer LZZBJ9-12 | 2 | 2 | 3 | 3 | 2 | |
| Voltage transformer RZL/REL | 2/ | 2/ | 2/ | 2/ | /3 | |
| High Pressure Breaker (XRNP □) | 3 | 3 | 3 | 3 | 3 | |
| Grounding Switch (EK6/JN15-12) | ||||||
| Surge arrester HY5WZ-17/45 | ||||||
| use | Measurement right couplet | Measurement left couplet | Measurement left couplet | Measurement right couplet | Measurement left couplet | |
| Scheme number | 026 | 027 | 028 | 029 | 030 | |
Primary route diagram |
| |||||
| Rated current (رہ). | 630-4000 | |||||
One times host want electricity utensil Yuan item | Vacuum circuit breaker | 1 | ||||
| Current transformer LZZBJ9-12 | 3 | Capacitor Bm12.7-16-1 3 | ||||
| Voltage transformer RZL/REL | /3 | ٹانڈ 1 | /4 | /4 | ||
| High Pressure Breaker (XRNP □) | 3 | 3 | (XRNT)3 | 3 | 3 | |
| Grounding Switch (EK6/JN15-12) | 1 | 1 | 1 | |||
| Surge arrester HY5WZ-17/45 | 3 | 3 | 3 | |||
| use | Incoming metering | ٹسپورفرورک کابینٹ استعمال (کابینٹ) | Capacitor cabinets | Voltage measurement surge arrester | Voltage measurement surge arrester | |

◆رہ handcart اسٹیل کے ذریعے اسٹیل کے ذریعے کے ذریعے ، اسٹیل کے ذریعے اسٹیل کے ذریعے ، اس کے بعد ٹکڑے اور اُردو اور اُردوگا ۔ اطلاع کے مطابق ، ہند گاڑی کو سرکٹ بریک ہنڈی ٹسپورچرہ ، منطقہ ، میٹری ، ڈھانک ، میٹری ، دستکڑے اور اِس طرح کے دیگر فیصلے میں تقسیم کر سکتے ہیں ۔ ٹیسٹ میں ایک ٹیسٹ کی جگہ ، ایک ٹیسٹ مقام اور کابینٹ میں کام کرنے کی جگہ ہے ۔ اور ہر مقام ایک مقامی ایک ڈھانپ کے ذریعے لیتا ہے ، اس کو یقینی طور پر حملہ کِیا جاتا ہے جب وہ اُسے مقام میں ہے ، اُس وقت تک چلے جاری ہونا چاہئے ۔ |
|
◆B busbar ایک برانچ بس ایک برانچ bus اور اسٹری کے ذریعے سے دوسری کے ذریعے سے دوسری میں رہتا ہے ۔ گروپٹ برانچ بس اسٹیٹیٹیکٹ ٹری اور اصل بسوں کے لئے بغیر کسی اضافی کی ضرورت کے بغیر کسی اضافی کی ضرورت ہے ۔ جب انفراد اور پروجیکٹ پروجیکٹ کے خاص ضروریات ہوتے ہیں تو بزبر پر جمع ہوتے ہیں تو بزبر پر جمع کریں ۔ جب بزبر سٹچگیر کے پیچیدہ لیتا ہے تو یہ ایک بوسبر کے ذریعہ سے ٹھہرا جاتا ہے ۔ اگر ایک اندرونی فیٹ آسک ہے تو یہ حادثہ کا پھیلاتا ہے تو یہ حادثہ کا پھیلانے کو محدود کر سکتا ہے ۔ |
|
◆C cable room ٹوٹرز اور کابلٹسٹورسٹرز ، بجلی ، بجلی کے ، بجلی کے ذریعے اور کیبل کے کمر میں بنا سکتے ہیں ۔ ٹوٹر کے ذریعے ٹوٹے کے نیچے پر تیار کی جاتی ہے ۔ |
|
◆D Relay instrument room رئیل ایلٹر رہم مختلف ریلیز ، زیر ، سیگن نظیم ، عملی سوئٹس اور دیگر اصطلاح کرنے کے لئے استعمال کیا جاتا ہے ۔ اس کے علاوہ ، اس کے علاوہ ایک چھوٹے بوسبر کمر کے اوپر کو ایک چھوٹا بوس شرک کا کمر اضافہ کیا جاسکتا ہے ۔ |
|
◆Lock structure وسطی دروازے اور کبینٹ کے درمیان اتصال کو ایک ڈھانک ڈھانک بنانے کے لئے ایک ڈھانپی دروازے کو کھول کر لیتا ہے ۔ اس کے اور کبینٹ کے درمیان تعلق قوت کو بہتر ہے جس کے ذریعے درونی اُس کے غلط کا مقابلہ کرنے کی صلاحیت بڑھاتا ہے ۔ |
|
◆ڈی رییل ایلٹل کمر دروازے بند ہو گیا ہے اور اسٹیلٹر کمر کے دروازے بند ہو گیا ہے اور اڈٹل کمر آگے نظر میں ہے ۔ | ◆Pressure relief device جب سرکٹ بریککر یا بنیاسری بوزبر کا ایک اندرونی ٹوٹ آرسک ہے ، بجلی کے لحاظ سے ، بجلی کی نظر میں ، سویچگگر کے اندر هوا دباؤ اور ایک خاص دباؤ پہنچنے کے بعد اپیٹر کے ڈھانٹ کے فیلند پیٹ کو ٹریل کے ذریعے دباؤ کے ذریعے اور سویچگگر کی حفاظت کرنے کے لئے جائینگے ۔ |